EarthquakeSound Patents
EarthquakeSound's chief ingeneer and president, Joseph Sahyoun, has a long line of patents.
A great deal of these are implemented inEarthquake Sounds products.
Earthquake Europe are giving you full access to read and download the relevant patents.
-
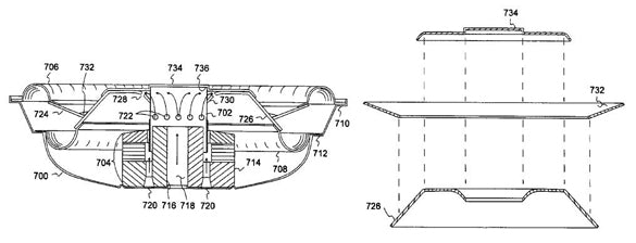
Acoustic radiator with at baffle of a diameter at least as large as the opening of the speaker enclosure to which it is mounted.
-
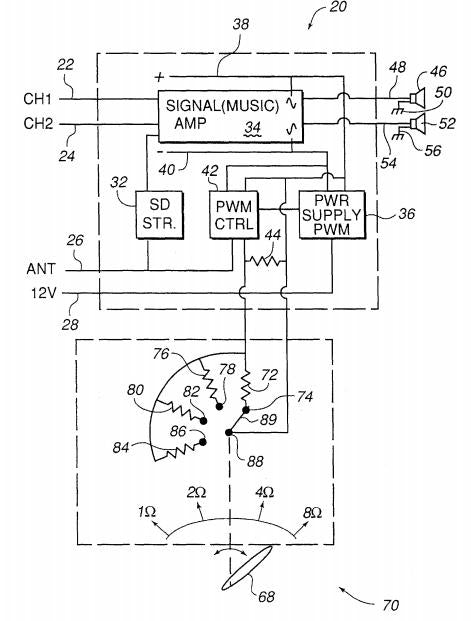
Amplifier with dynamic rail control drive circuit.
-
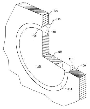
Audio radiator with radiator flexure minimization and voice coil elastic anti-wobble members.
-
Audio speaker damper with electrically conductive paths thereon to carry voice coil signals and a method therefore.
-
Audio speaker with wobble free voice coil movement.
-
Exterior surface of a heat sink.
-
Loudspeaker low profile quarter wavelength transmission line and enclosure and method.
-
-
Method and audio speaker with minimization of wobble of the voice coil.
-
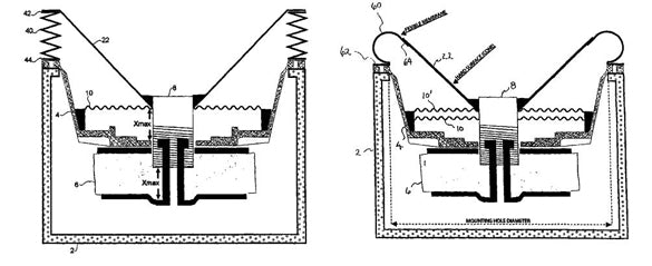
Passive speaker system.
-
Speaker resistance sensing and power limit setting circuit.
-